Stránka 1 z 1
Uvolnena rucna brzda
Napsal: pát bře 19, 2010 20:17
od Lukasito
Ake narocne je napnut lanko na rucnu brzdu...ked sedim v aute tak skoro do 1/3 zdvihu rucnej brzdy ked ne viac, je vôla akoby ani lanko som nemal, az potom ked taham vyssie tak to zabera...ked som na strmejsom kopci, a zatiahnem rucnu, tak mi to ani auto neudrzi

Skusal niekto spanovat lanko na rucnu? ako sa to robi a ake je to narocne a ci to nie je lepsie dat do servisu...
Re: Uvolnena rucna brzda
Napsal: pát bře 19, 2010 20:23
od ppp
hmm, ak mas moznost vyjst kolesami aspon na tehly alebo jednou stranou na obrubnik a si chudy tak to az take hrozne nie je. Al enesmies mat velmi zahrdzavenu skrutku/cap ktorou tahas za vahadlo rucnej brzdy. Pakou totizto tahas cap, ktory konci pod autom a ma tam 10 az 20cm zavit. Na tom ma napichnute plechove ucko dierou v strede a zaistene samoistiacou maticou. A na koncoch Ucka su pripevnene lanka oboch zadnych brzd. Je to sice ukryte pod krycim plechom vyfuku ale ten len stazuje pristup. Pred solou a vodou vsak chrani minimalne.
Re: Uvolnena rucna brzda
Napsal: pát bře 19, 2010 20:32
od Lukasito
mam dieru v garazi ked to pomoze

Re: Uvolnena rucna brzda
Napsal: pát bře 19, 2010 20:36
od massic
resim stejny problem.kamarad mi tvrdil ze se dotahuje lanko vevnitr mezi sedackama.odmontoval jsem ten plast uprostred a nic nenasel.
takze se opravdu musi zespoda? byl by prosím treba nejaky obrazek jak priblizne vypada ten spravny sroub?
Re: Uvolnena rucna brzda
Napsal: pát bře 19, 2010 20:46
od Lukasito
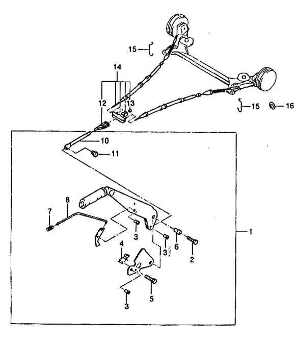
neni to tato 13ka??

- Untitled.png (60.93 KiB) Zobrazeno 4964 x
Re: Uvolnena rucna brzda
Napsal: sob bře 20, 2010 00:04
od ppp
Lukasito -> Veru tak.
massic -> mal si si kupit nubiru alebo skodovku ked si chcel stelovat rucnu brzdu pekne z pohodlia zadnych sedaciek

Re: Uvolnena rucna brzda
Napsal: sob bře 20, 2010 16:08
od Lukasito
nebodaj to je niekde nad strednym tlmicom vyfuku.
Re: Uvolnena rucna brzda
Napsal: sob bře 20, 2010 17:27
od ppp
Lukasito -> Veru tak. Len trosku bokom. Bez odskrutkovania krycieho plechu stredneho tlmica na jednej strane sa k tomu nedostanes.
Re: Uvolnena rucna brzda
Napsal: pon bře 22, 2010 08:18
od stefan
Mal som rovnakú problém, neustále doťahovanie aby to bolo OK.
Po roztrhnutí lana došlo na jeho výmenu a odvtedy funguje ručná ako má.
Tie staré laná sa už vôbec nehýbali. Doporučujem vymeniť. Po 14
rokoch to už má zmysel.
PS. Po 14 rokoch už má zmysel vymeniť celé auto.
Re: Uvolnena rucna brzda
Napsal: pon bře 22, 2010 14:14
od Lukasito
ano s tym s tebou suhlasim, ale nasa financna situacia v rodine neni taka aby sme si zaobstarali nove auto

...Este aj ocovi hrozi vyhazof, cize budem rad, ked to zvladnem este servisovat

Re: Uvolnena rucna brzda
Napsal: úte bře 23, 2010 08:22
od stefan
Som v podobnej situácií, ale už si sľubujem že na budúci rok už čosi musím s tým robiť.
Espero proste dosluhuje.
Re: Uvolnena rucna brzda
Napsal: úte bře 23, 2010 22:32
od ppp
Ja som kupil nove lanka za necelych 300Sk neoriginal, je to jeden diel, takze to nie je az take drahe. Len aby ste po nazreti pod bubny nemuseli pokracovat v opravach

.
Re: Uvolnena rucna brzda
Napsal: čtv bře 25, 2010 21:15
od Lukasito
Kryt stredneho tlmica som odsruboval uplne...drzia to dost vtipne srubky velkosti 9mm. Aj ked som ho dolu dat nemohol, dal sa pekne poposuvat a vhodne nastavit na pristup. Matka 13ka, a pristup kluca bol dost na hov... pretoze sa tam dost zle manipulovalo s klucom. Golak ani nahodou pretoze ta sruba na ktorej bola namontovana ta matka bola pomali kilometrova. No nakoniec po tych milimetroch som to trosku dotiahol a teraz je to o dost hodne, ba az neviem ci som to neprehnal

pretoze teraz mam niekedy aj problem vytiahnut paku aj na 2 zubky

Resp. na 2 zubky to vytiahnem relativne v poho ale vyssie to asi uz nedam

Ta pociatocna vola pod 1. zubom je uz ovela mensia ako bola

Re: Uvolnena rucna brzda
Napsal: pát bře 26, 2010 21:28
od vladimir fodor
Caute.Ak sa krútia a nehrejú kolesá tak je to v pohode.